- 롭 피츠 조지아주 풀튼 카운티 의장, 경북도 방문
- 김영란 기자 2023.08.08
- [일요주간=김영란 기자] 이철우 경북도지사는 7일 경북도청을 방문한 미국 조지아 주 풀튼 카운티(Fulton County)의 롭 피츠(Robb Pitts) 의장을 접견했다. 피츠 의장의 이번 경북 방문은 지난 4월 26일 도청을 찾아 ...
- 전남도-한전KDN, 사회적경제 청년 창업 발판 협업
- 김영란 기자 2023.08.08
- [일요주간=김영란 기자] 전라남도는 한전KDN과 공동으로 사회적기업 창업 발판 마련을 위한 2023년 사회적경제 청년 창업 아카데미를 운영키로 하고, 오는 23일까지 교육생을 모집한다고 밝혔다.아카데미는 사회적기업 창업을 준비하는 청 ...
- 충북도, 4차 산업혁명 대응 선도기업 지정
- 김영란 기자 2023.08.08
- [일요주간=김영란 기자] 충북도와 충북과학기술혁신원은 7일 오후 2시 ‘2023년 4차 산업혁명 대응 선도기업’으로 선정된 4개사에 대해 선도기업 지정서와 현판을 수여했다.도는 4차 산업혁명의 핵심인 산업 디지털 전환을 선도하는 기술 ...
- ‘경기도형 스마트공장 공급기술 상용화’ 7개 컨소시엄 선정, 하반기 실증 지원
- 김영란 기자 2023.08.08
- [일요주간=김영란 기자] 경기도와 (재)경기테크노파크(이하 ‘경기TP’)는 ‘2023년 경기도형 스마트공장 공급 기술 상용화 지원 사업’에 16개 사 7개 컨소시엄을 최종 선정했다고 8일 밝혔다. 이번 사업은 지능형 공장(스마트 공장 ...
- 세종시, 2023년 가축방역 평가 특·광역시 1위
- 김영란 기자 2023.08.08
- [일요주간=김영란 기자] 세종특별자치시(시장 최민호)가 가축전염병 대응 평가에서 광역단체 중 1위를 차지했다.시는 농림축산식품부 주관 ‘2023년 지자체 가축방역 우수사례 특별평가’에서 시(市)부 1위인 우수상을 수상했다고 8일 밝혔 ...
- 이장우 대전시장 “대전0시 축제, 잼버리 대회 교훈삼아 사전대비 철저히 하라”
- 김영란 기자 2023.08.08
- [일요주간=김영란 기자] 이장우 대전시장은 최근 논란이 되고 있는 세계 잼버리 대회를 언급하며 “대전 0시 축제의 교훈으로 삼아야 한다”고 말했다. 특히 화장실 및 쓰레기 문제 등 사소한 부분들까지 철저한 사전대비를 주문했다.이 시장 ...
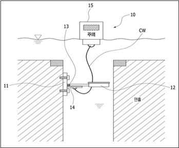
- 인천시, 침수지역 맨홀 추락사고 예방위한 ‘부표 장치’특허 등록
- 김영란 기자 2023.08.08
- [일요주간=김영란 기자] 인천광역시(시장 유정복) 상수도사업본부는 전국 최초로 ‘맨홀 위치 알림 부표 장치’를 특허 등록했다고 밝혔다.이 장치는 집중 호우 등으로 맨홀 뚜껑이 이탈된 침수지역을 걷는 보행자들에게 맨홀 위치를 알려주는 ...
- “인천국제공항공사, 보안 총괄 책임자 수개월 째 공백...실탄 보안사고 벌써 잊었나?”
- 김성환 기자 2023.08.08
- [일요주간 = 김성환 기자]지난 3월 여객기에서 실탄이 발견된 보안사고 발생 이후에도 인천국제공항공사가 수개월 째 보안 총괄 책임자 임명을 방치하고 있어 논란이 일고 있는 가운데 보안검색통합노동조합(이하 통합노조)은 이는 여객 안전에 ...
- 가스공사, 경영진부터 깨끗하고 투명하게!...청렴윤리경영 박차
- 김영란 기자 2023.08.08
- [일요주간=김영란 기자] 한국가스공사(사장 최연혜)는 8월 7일 대구 본사에서 사장, 부사장, 본부장 및 처‧실장 등 고위 간부 직원과 부장급 직원을 대상으로 청렴 리더십 교육을 시행했다고 8일 밝혔다.최연혜 가스공사 사장은 경영진부 ...
- 신한투자증권, 인천금융센터 오픈
- 노현주 기자 2023.08.08
- [일요주간=노현주 기자] 신한투자증권(대표이사 김상태)이 인천지점, 계양지점을 인천금융센터로 통합 오픈한다고 8일 밝혔다.신한투자증권 인천금융센터는 WM1지점, WM2지점으로 구성됐다. 이번 통합점포의 확장 이전으로 하나의 거점에 주 ...
- 두산연강재단, ‘제14회 과학교사 학술시찰’ 진행
- 노현주 기자 2023.08.08
- [일요주간=노현주 기자] 두산연강재단이 초·중·고 과학교사들을 대상으로 한국과 일본의 다양한 과학기술 및 교육 현장을 탐방하는 ‘제14회 과학교사 학술시찰’을 진행한다.이번 학술시찰에는 과학기술정보통신부가 주최하고 한국과학창의재단 등 ...
- LG에너지솔루션-중국 화유코발트 배터리 리사이클 합작법인 설립
- 하수은 기자 2023.08.08
- [일요주간=하수은 기자] LG에너지솔루션이 중국 1위 코발트 생산업체 화유코발트와 배터리 리사이클 합작법인(JV)를 설립했다. 중국 내 최초의 한중 합작 배터리 리사이클 기업이다.LG에너지솔루션은 7일 오후 중국 저장성에 위치한 화유 ...
- 롯데호텔앤리조트, 신규 트레비클럽 출시...폭 넓힌 옵션·특전 부여
- 이수근 기자 2023.08.08
- [일요주간 = 이수근 기자] 롯데호텔앤리조트는5성급 롯데호텔 이용이 가능한 유료 멤버십 ‘트레비클럽(Trevi Club)’을 재단장하고 오는 9월 1일부터 신규 회원 모집에 나선다고 8일 밝혔다.롯데호텔 4곳(롯데호텔 서울, 월드, ...
- LS전선, 동해시 학대피해아동 등에 1억원 지원
- 조무정 기자 2023.08.08
- [일요주간=조무정 기자] LS전선은 사회복지공동모금회를 통해 강원도 동해시에 학대피해아동 등 취약계층에 1억원을 지원한다고 8일 밝혔다. 이날 동해시청에서 열린 전달식에는 여상철 LS전선 동해공장장과 심규언 동해시장, 박병기 강원남부 ...
- SKT ‘5! My WONDERFLIP’ 청년 고객에 통했다!
- 노현주 기자 2023.08.08
- [일요주간=노현주 기자] SK텔레콤(대표이사 사장 유영상, www.sktelecom.com)이 8일부터 갤럭시Z폴드5/플립5 사전개통을 시작한다.SKT는 지난 8월 1일부터 7일까지 진행한 예약판매 결과, 갤럭시 Z 폴드 5/플립5가 ...
- 우리은행, 금융취약계층 대출원금잔액 1% 지원으로 상생금융 실천
- 조무정 기자 2023.08.08
- [일요주간=주무정 기자] 우리은행(은행장 조병규)이 지난 3월 발표한 ‘우리상생금융 3·3패키지’의 후속 조치로 서민금융대출상품 성실상환 고객에 대해 ‘대출원금 1% 지원’을 실시한다고 8일 밝혔다. ‘대출원금 1% 지원’은 지난 ...
- KCC, 드라마 '왕의 땅'에 페인트 제공 및 후원 결정
- 이수근 기자 2023.08.08
- [일요주간 = 이수근 기자] 친환경 페인트 제조사인 KCC(002380)는 8월 8일에 TV 드라마 '킹더랜드'에 페인트 '숲으로 홀리데이'를 제공하며 후원했다고 공식 발표했다.KCC 대표는 “드라마의 호텔리어 캐릭터와 '숲으로 홀 ...
- 기아, EV9 전용 케어 서비스 시작
- 노현주 기자 2023.08.08
- [일요주간=노현주 기자] 기아가 ‘The Kia EV9(더 기아 이 브이 나인, 이하 EV9)’ 출시를 맞아 EV9 전용 케어 서비스를 시작한다고 8일(화) 밝혔다.이는 EV9을 구매한 고객들을 위해 차량의 전 생애주기에 걸쳐 애프터 ...
- GS건설, 새만금 잼보리 참가자에게 숙소 제공
- 이수근 기자 2023.08.08
- [일요주간 = 이수근 기자] GS건설이 전북 새만금에서 일정을 조기에 마감한 국제 잼보리 참가자들을 위한 특별한 지원을 약속했다.GS건설은 8일자로 경기도 용인에 위치한 엘리시안 학습 센터를 해당 참가자들에게 개방할 것이라고 공식 발 ...
- 경동나비엔, 북미 공조 시장 정조준
- 김완재 기자 2023.08.08
- [일요주간 = 김완재 기자] 경동나비엔(009450)이 북미 시장에서 수온기 1위 기업으로부터 성장하며 이번에는 북미 시장을 대상으로 한 HVAC 시스템을 선보이며 글로벌 HVAC 기업으로 급속도로 발전하고 있다.지난 6일, 경동나비 ...
많이 본 기사

대진청 "'보보리스 화장품 조작' KPT, 행정처분·경찰 고발 수순"...K-뷰티 추악한 불법 공모 전말
- "아까워서 날짜 세탁했다"...탈모샴푸 '보보리스' 사용기한 조작 일파만파 서울 강남 미용실 브랜드'보보리스', 제조사 KPT와 공모해 1만 2천통 조작 조작 적발 대비한 사전 모의 ...





























































![부산 덕포동 중흥S클래스 건설현장서 화재 발생...검은 연기 치솟아 [제보+]](/news/data/20220901/p1065590204664849_658_h2.jpg)
![[포토] 제주 명품 숲 사려니숲길을 걷다 '한남시험림'을 만나다](/news/data/20210513/p1065575024678056_366_h2.png)
![[포토] 해양서고 예방·구조 위해 '국민드론수색대'가 떴다!](/news/data/20210419/p1065572359886222_823_h2.jpg)
![[언택트 전시회] 사진과 회화의 경계](/news/data/20210302/p1065575509498471_939_h2.jpg)










